|
|
|
|
Виды соединения деталей и правила их изображения на чертежах |
Изделия подразделяются на детали, сборочные единицы, комплексы и комплекты см. п. 2.1.
Соединение - совокупность сборочных операций по соединению деталей различными способами (свинчиванием, сочленением, клепкой, сваркой, пайкой, опресовкой, развальцовкой, склеиванием, сшивкой, укладкой и т.п.).
Классификация видов соединения деталей |
По конструкции и условиям эксплуатации соединения деталей могут быть разделены на подвижные и неподвижные.
Соединение неподвижное - соединение деталей, обеспечивающее неизменность их взаимного положения при работе. Например, сварные, соединения с помощью крепежных изделий и др.
Соединение подвижное - соединение, при котором детали имеют возможность относительного перемещения в рабочем состоянии. Например, зубчатое соединение.
В зависимости от возможности демонтажа соединения подразделяются на разъемные и неразъемные.
Соединение разъемное - соединение, которое можно многократно разъединять и соединять, не деформируя при этом ни соединяемые, ни крепежные детали. Например, резьбовое, соединение болтом, винтом, клиновое, шпоночное, зубчатое, и др.
Соединение неразъемное - соединение, которое нельзя разъединить без нарушения формы деталей или их соединяющего элемента. Например, соединение сварное, паяное, заклепочное и др.
Резьбовые соединения |
Резьбовое соединение - соединение деталей при помощи резьбы.
Резьба - чередующиеся выступы и впадины на поверхности тела вращения, расположенные по винтовой линии; применяется как средство соединения, уплотнения или обеспечения заданных перемещений деталей машин, механизмов, приборов, аппаратов, сооружений (рисунок 97).

Рисунок 97 - Резьба
Основные параметры резьбы |
Виток резьбы - часть резьбы, образованной при одном повороте профиля вокруг оси вращения (рисунок 98).

Рисунок 98 - Виток резьбы
Наружный диаметр резьбы (d) - диаметр воображаемого цилиндра, описанного вокруг вершин наружной резьбы или вписанного во впадины внутренней резьбы (рисунок 99).
Номинальный диаметр резьбы - диаметр, условно характеризующий размеры резьбы и используемый при ее обозначении.

Рисунок 99 - Наружный диаметр резьбы
Внутренний диаметр резьбы (d1) - диаметр воображаемого цилиндра, вписанного во впадины наружной резьбы или описанной вокруг вершин внутренней резьбы (рисунок 100).

Рисунок 100 - Внутренний диаметр резьбы
Профиль резьбы - плоская фигура, получаемая в плоскости, проходящей через ось резьбы.
Высота профиля (H) - радиально измеренная высота основного расчетного теоретического профиля (высота исходного треугольного профиля), общего для резьбы на стержне и в отверстии.
Угол профиля - угол между боковыми сторонами профиля, измеренный в осевой плоскости резьбы (рисунок 101).

Рисунок 101 - Профиль резьбы
Шаг резьбы (P) - расстояние между соседними одноименными точками профиля в направлении, параллельном оси резьбы той же винтовой поверхности (рисунок 102).
Ход резьбы (Ph) - расстояние по линии, параллельной оси резьбы, между исходной средней точкой на боковой стороне резьбы и средней точкой, полученной при перемещении исходной по винтовой линии на угол 360°, в однозаходной резьбе ход равен шагу, в многозаходной - произведению шага на число заходов n: Ph = nP (рисунок 102).

Рисунок 102 - Основные параметры резьбы
Рабочая высота профиля (h) - наибольшая высота соприкосновения сторон профиля резьбовой пары, измеренная радиально (рисунок 103).

Рисунок 103 - Рабочая высота профиля
Длина свинчивания (L) - длина участка взаимного перекрытия наружной и внутренней резьб в осевом направлении.
Классификация резьб |
Для классификации резьбы используются следующие основные признаки (рисунок 104):
- форма профиля;
- форма поверхности, на которой выполнена резьба;
- расположение резьбы;
- величина шага;
- число и направление заходов;
- эксплуатационное назначение.
Рисунок 104 - Классификация резьб
Профиль резьбы установлен ГОСТ 9150-81 и представляет собой треугольник с углом при вершине 60о (рисунок 105).
Это основной вид крепежной резьбы, предназначенной для соединения деталей непосредственно друг с другом или с помощью стандартных изделий, имеющих метрическую резьбу, таких как болты, винты, шпильки, гайки.

Рисунок 105 - Профиль метрической резьбы
Основные элементы и параметры ее задаются в миллиметрах (ГОСТ 24705-81).
Согласно ГОСТ 8724-81 метрические резьбы выполняются с крупным и мелким шагом на поверхностях диаметров от 1 до 68 мм - свыше 68 мм резьба имеет только мелкий шаг, при чем мелкий шаг резьбы может быть разным для одного и того же диаметра, а крупный имеет только одно значение. Крупный шаг в условном обозначении резьбы не указывается. Например: для резьбы диаметром 10 мм крупный шаг резьбы равен 1,5 мм, мелкий - 1,25; 1; 0,75; 0,5 мм.
Примеры условного обозначения:
М18-6g резьба метрическая наружная номинальный диаметр 18 мм шаг крупный, поле допуска резьбы 6g;
М18х0,5-6g резьба метрическая наружная номинальный диаметр 18 мм, поле допуска резьбы 6g, шаг мелкий Р=0,5;
М18LH-6g резьба метрическая наружная номинальный диаметр 18 мм шаг крупный, поле допуска резьбы 6g, левая;
М18-6Н резьба метрическая внутренняя номинальный диаметр 18 мм шаг крупный, поле допуска резьбы 6Н.
Резьба дюймовая
В настоящее время не существует стандарт, регламентирующий основные размеры дюймовой резьбы. Ранее существовавший ОСТ НКТП 1260 отменен, и применение дюймовой резьбы в новых разработках не допускается.
Резьба треугольного профиля с углом при вершине 55о (рисунок 106).

Рисунок 106 - Профиль дюймовой резьбы
Трубная цилиндрическая резьба
В соответствии с ГОСТ 6367-81 трубная цилиндрическая резьба имеет профиль дюймовой резьбы, т. е. равнобедренный треугольник с углом при вершине, равным 55°( рисунок 107).
Резьба стандартизована для диаметров от 1/16" до 6" при числе шагов z от 28 до 11. Номинальный размер резьбы условно отнесен к внутреннему диаметру трубы (к величине условного прохода). Так, резьба с номинальным диаметром 1 мм имеет диаметр условного прохода 25 мм, а наружный диаметр 33,249 мм.

Рисунок 107 - Профиль трубной цилиндрической резьбы
Примеры условного обозначения:
G11/2 -А резьба трубная цилиндрическая,11/2 условный проход в дюймах, класс точности А;
G11/2LH-B-40 резьба трубная цилиндрическая,11/2 условный проход в дюймах, левая, класс точности В, длина свинчивания 40 мм.
Резьба трапецеидальная
Резьба с профилем в виде равнобочной трапеции с углом 30о (рисунок 108). Применяется для передачи возвратно-поступательного движения или вращения в тяжело нагруженных подвижных резьбовых соединениях. Часто используется при изготовлении ходовых винтов, согласно ГОСТ 24738-81 выполняется на поверхностях диаметров от 8 до 640 мм.
Трапецеидальная резьба может быть однозаходной (ГОСТ 24738-81, ГОСТ 24737-81) и многозаходной (ГОСТ 24739-81). ГОСТ 9484-81 устанавливает профиль трапецеидальной резьбы.

Рисунок 108 - Профиль трапецеидальной резьбы
Пример условного обозначения:
Tr40х6 - трапецеидальная однозаходная резьба с наружным диаметром 40 мм, шагом 6 мм.
Резьба упорная
Резьба с профилем в виде неравнобочной трапеции с углом рабочей стороны 3о и нерабочей - 30о (рис. 109). Упорная резьба, как и трапецеидальная, может быть однозаходной и многозаходной. Выполняется на поверхностях диаметров от 10 до 640 мм (ГОСТ 10177-82). Применяется для передачи больших усилий, действующих в одном направлении: в домкратах, прессах и т.д.

Рисунок 109 - Профиль упорной резьбы
Пример условного обозначения:
S80Х10 - упорная однозаходная резьба с наружным диаметром 80 мм, шагом 10 мм;
S80Х20(P10) - упорная многозаходная резьба с наружным диаметром 80 мм, величина хода 20 мм, шаг 10 мм
Резьба прямоугольная (квадратная)
Резьба с прямоугольным (или квадратным) нестандартным профилем, поэтому все ее размеры указываются на чертеже. Применяется для передачи движения тяжело нагруженных подвижных резьбовых соединений. Обычно выполняется на грузовых и ходовых винтах (рисунок 110).

Рисунок 110 - Профиль прямоугольной резьбы
Резьба круглая
Резьба с круглым профилем (ГОСТ 9484-81) (рисунок 111). Обладает сравнительно большим сроком службы и повышенным сопротивлением при значительных нагрузках. Применяется для часто свинчиваемых соединений (шпиндели, вентили и т.д.), работающих в загрязненной среде, а также для тонкостенных деталей с накатанной или штампованной резьбой, например, цоколь электролампы.

Рисунок 111 - Профиль круглой резьбы
Пример условного обозначения:
Rd16 - круглая резьба с наружным диаметром 16 мм.
Если резьба круглая применяется в соединениях санитарно-технической арматуры, то обозначение будет следующим: Кр12х 2,54 ГОСТ 13536-68.
Эксплуатационное назначение резьбы
Крепежная резьба обеспечивает полное и надежное соединение деталей при различных нагрузках и при различном температурном режиме. К этому типу относятся метрическая.
Крепежно-уплотнительная резьба предназначена для обеспечения плотности и непроницаемости резьбовых соединений (без учета ударных нагрузок). К этому типу относятся метрическая с мелким шагом, трубная цилиндрическая и коническая резьбы и коническая дюймовая резьба.
Ходовая резьба служит для преобразования вращательного движения в поступательное. Она воспринимает большие усилия при сравнительно малых скоростях движения. К этому типу относятся резьбы: трапецеидальная, упорная, прямоугольная, круглая.
Специальная резьба имеет специальное назначение и применяется в отдельных специализированных отраслях производства. К ним можно отнести следующие:
- метрическая тугая резьба - резьба, выполненная на стержне (на шпильке) и в отверстии (в гнезде) по наибольшим предельным размерам; предназначена для образования резьбовых соединений с натягом;
- метрическая резьба с зазорами - резьба с необходимая для обеспечения легкой свинчиваемости и развинчиваемости резьбовых соединений деталей, работающих при высоких температурах, когда создаются условия для схватывания (сращивания) окисных пленок, которыми покрыта поверхность резьбы;
- часовая резьба (метрическая) - резьба, применяемая в часовой промышленности (диаметры от 0,25 до 0,9 мм);
- резьба для микроскопов - резьба, предназначена для соединения тубуса с объективом; имеет два размера: 1) дюймовая - диаметр 4/5 І (20,270 мм) и шаг 0,705 мм (36 ниток на 1І); 2) метрическая - диаметр 27 мм, шаг 0,75 мм;
- окулярная многозаходная резьба - рекомендуемая для оптических приборов; профиль резьбы - равнобочная трапеция с углом 60 0.
Изображение резьбы |
ГОСТ 2.311-68 устанавливает правила изображения и нанесения обозначения резьбы на чертежах.
Резьбу на стержне изображают сплошными основными линиями по наружному диаметру резьбы и сплошными тонкими линиями - по внутреннему диаметру.
На изображениях, полученных проецированием на плоскость параллельную оси стержня, сплошную тонкую линию по внутреннему диаметру резьбы проводят на всю длину резьбы без сбега, а на видах, полученных проецированием на плоскость, перпендикулярную к оси стержня, по внутреннему диаметру резьбы проводят дугу, приблизительно равную 3/4 окружности, разомкнутую в любом месте (рисунок 112).
Расстояние между тонкой линией и сплошной основной принимают в пределах не менее 0,8 мм и не больше шага резьбы Р.

Рисунок 112 - Изображение резьбы на стержне
Резьбу в отверстиях (рисунок 113) изображают сплошными основными линиями по внутреннему диаметру резьбы и сплошными тонкими линиями - по наружному диаметру.
На разрезах, параллельных оси отверстия, сплошную тонкую линию по наружному диаметру резьбы проводят на всю длину резьбы без сбега, а на изображениях, полученных проецированием на плоскость, перпендикулярную оси отверстия, по наружному диаметру резьбы проводят дугу, приблизительно равную 3/4 окружности, разомкнутую в любом месте.

Рисунок 113 - Изображение резьбы в отверстии
Резьбу, показываемую как невидимую (рисунок 114), изображают штриховыми линиями одной толщины по наружному и по внутреннему диаметру.

Рисунок 114 - Изображение невидимой резьбы
Линию, определяющую границу резьбы, наносят на стержне и в отверстии с резьбой в конце полного профиля резьбы (до начала сбега). Границу резьбы проводят до линии наружного диаметра резьбы и изображают сплошной основной или штриховой линией, если резьба изображены как невидимая (рисунки 114, 115).

Рисунок 115 - Изображение границы резьбы
Штриховку в разрезах и сечениях проводят до линии наружного диаметра резьбы на стержнях и до линии внутреннего диаметра в отверстии, т.е. в обоих случаях до сплошной основной линии (рисунок 116).

Рисунок 116 - Изображение резьбы в разрезе
Допускается изображать недорез резьбы, как показано на рисунке 117.

Рисунок 117 - Изображение недореза резьбы
На чертежах, по которым резьбу не выполняют, конец глухого резьбового отверстия допускается изображать, как показано на рисунках, даже при наличии разности между глубиной отверстия под резьбу и длиной резьбы (рисунок 118).

Рисунок 118 - Упрощение в изображении резьбы
Фаски на стержне с резьбой и в отверстии с резьбой, не имеющие специального конструктивного назначения, в проекции на плоскость, перпендикулярную оси стержня или отверстия, не изображают (рисунок 115). Сплошная тонкая линия изображения резьбы на стержне должна пересекать линию границы фаски.
На разрезах резьбового соединения в изображениях на плоскости параллельной к его оси, в отверстии показывается только часть резьбы, которая не закрыта резьбой стержня (рисунок 119).

Рисунок 119 - Разрез резьбового соединения

Рисунок 120 - Обозначение наружной резьбы
Обозначение резьб указывают по соответствующим стандартам на размеры и предельные отклонения резьб и относят их для всех резьб, кроме конической и трубной цилиндрической, к наружному диаметру, как показано на рисунках 120 и 121 .

Рисунок 121 - Обозначение внутренней резьбы
Обозначение конической и трубной цилиндрической резьбы наносят, как показано на рисунке 122.

Рисунок 122 - Обозначение конической и трубной резьбы
Крепежные детали |
Крепёжные детали - детали для неподвижного соединения частей машин и конструкций. К ним обычно относят детали резьбовых соединений: болты, винты, шпильки, гайки, шурупы, шайбы, шплинты, а также штифты.
Основным параметром резьбовых крепежных деталей является резьба, форма и размеры которой соответствуют стандартам.
Болт (рисунок 123) - крепёжная деталь для разъёмного соединения частей машин и сооружений в виде стержня с резьбой на одном конце и шести- или четырёхгранной головкой на другом. Конструкции болтов весьма разнообразны в зависимости от назначения болтового соединения. Болты изготовляют из углеродистой, низколегированной или специальной стали, латуни и др.

Рисунок 123 - Болт
Винт (рисунок 124) - изделие цилиндрической или конической формы с резьбовой поверхностью. Различают винты, с потайной, полупотайной, полукруглой, шестигранной, цилиндрической и гладкой головками.

Рисунок 124 - Винт
Гайка (рисунок 125) - деталь резьбового соединения или винтовой передачи, имеющая отверстие с резьбой.
Крепёжная гайка в резьбовом соединении навинчивается на конец болта или шпильки или же на резьбовой участок вала, оси для закрепления от осевого перемещения сидящих на них деталей - подшипников качения, шкивов и т. п.

Рисунок 125 - Гайки
Шпилька, крепёжная деталь, представляющая собой металлический стержень с резьбой на обоих концах (рисунок 126). Конец шпильки ввинчивается в одну из соединяемых деталей, а другая деталь прижимается к первой при навинчивании гайки на другой конец шпильки.

Рисунок 126 - Шпилька
Шайба (рисунок 127), деталь, подкладываемая под гайку или головку болта для предупреждения смятия поверхностей соединяемых деталей, предохранения их от царапин при завинчивании гаек, винтов и для перекрытия зазора между стержнем болта и отверстием в деталях.
Шайбы общего назначения применяют для увеличения площади опоры, если опорная поверхность из мягкого материала или неровная, а также если отверстие под винт продолговатое или увеличенного диаметра. Косую и сферические шайбы используют для устранения перекоса гайки или головки винта при затяжке. Быстросъёмную шайбу применяют в приспособлениях для экономии времени на снятие обработанной детали и установку новой. Пружинная шайба уменьшает опасность самоотвинчивания винтов или гаек благодаря силам упругости сжатой шайбы.

Рисунок 127 - Шайбы
Стопорная (запирающая) шайба путём отгибания её частей устраняет возможность поворота гайки или винта относительно опорной детали или вала (рисунок 128).

Рисунок 128 - Стопорная шайба
Шплинт - проволочный стержень полукруглого сечения, согнутый почти пополам (рисунок 129). Используется в качестве фиксирующего элемента слабо нагруженных сопряжённых деталей и для предотвращения самоотвинчивания гаек. Вставляется в сквозное отверстие, выступающие концы разводятся (для удобства разведения одна половинка шплинта делается длиннее другой). Изготовляется из углеродистой стали.

Рисунок 129 - Шплинт
Штифт, цилиндрический или конический стержень для неподвижного соединения деталей, часто в строго определённом положении, а также для передачи относительно небольших нагрузок (рисунок 130). Для постановки штифта детали соединяются и закрепляются. Затем в них просверливается и развёртывается отверстие, куда и вставляется штифт. Конический штифт, в отличие от цилиндрического, может использоваться многократно без уменьшения точности расположения деталей.

Рисунок 130 - Штифты
Болтами, гайками и шайбами осуществляют болтовые соединения (рисунок 131), при которых не требуется нарезания резьбы в соединяемых деталях, однако должно быть предусмотрено место для размещения головки болта.

Рисунок 131 - Болтовое соединение
Стопорные шайбы и шплинты предотвращают самоотвинчивание болтов и гаек при вибрациях и ударах.
Если размещение болтов затруднено или нежелательно делать сквозное отверстие в деталях, используют винты и шпильки.
Упрощенные изображения крепежных деталей |
ГОСТ 2.315-79 устанавливает упрощенные и условные изображения крепежных деталей на сборочных чертежах и чертежах общего вида. Форму изображения выбирают в зависимости от назначения и масштаба чертежа. Крепёжные детали, у которых на чертеже диаметры стержней равны 2 мм и менее, изображают условно. Размер изображения должен давать полное представление о характере соединения. В таблице 9 представлены упрощенные изображения некоторых стандартных крепежных изделий.
Таблица 9 – Упрощенное изображение стандартных крепежных изделий
| Наименование |
Упрощенное изображение |
|
Болты: |
|
|
с шестигранной головкой |
![]() |
|
с квадратной головкой |
![]() |
|
с молоткообразной головкой |
![]() |
|
с полукруглой головкой и усом |
![]() |
|
откидные с круглой головкой |
![]() |
|
откидные с вилкой |
![]() |
|
фундаментные |
![]() |
|
Винты: |
|
|
с полукруглой головкой |
![]() |
|
с цилиндрической головкой |
![]() |
|
с цилиндрической головкой и сферой |
![]() |
|
с полукруглой головкой и крестообразным шлицем |
![]() |
|
с цилиндрической головкой, сферой и крестообразным шлицем |
![]() |
|
с цилиндрической головкой и шестигранным углублением под ключ |
![]() |
|
с полупотайной головкой |
![]() |
|
с потайной головкой |
![]() |
|
с потайной головкой и крестообразным шлицем |
![]() |
|
с цилиндрической головкой саморежущие |
![]() |
|
с потайной головкой и крестообразным шлицем саморежущие |
![]() |
|
Гайки: |
|
|
круглые |
![]() |
|
шестигранные |
![]() |
|
шестигранные прорезные и корончатые |
![]() |
|
гайки-барашки |
![]() |
|
Шпильки |
![]() |
|
Шайбы: |
|
|
простые, стопорные и т.д. |
![]() |
|
стопорные с язычком |
![]() |
|
пружинные |
![]() |
|
Штифты: |
|
|
цилиндрические |
![]() |
|
конические |
![]() |
Упрощенные изображения крепежных деталей в соединениях |
Упрощенное изображение соединения деталей с применением болта, шайбы и гайки представлено на рисунке 132.

Рисунок 132 - Упрощенное изображение болтового соединения
Упрощенное соединение деталей с применением шпильки, корончатой гайки и шплинта представлено на рисунке 133.

Рисунок 133 - Упрощенное изображение соединения шпилькой
Упрощенное соединение деталей с применением винта с цилиндрической головкой и шестигранным углублением под ключ представлено на рисунке 134.

Рисунок 134 - Упрощенное изображение винтового соединения
Штифтовое соединение представлено на рисунке 135.

Рисунок 135 - Упрощенное изображение соединения штифтом
Упрощенное соединение деталей с применением откидного болта с круглой головкой, шайбы и гайки-барашки показано на рисунке 136.

Рисунок 136 - Упрощенное изображение соединения откидным болтом
Упрощенное соединение деталей винтом с цилиндрической головкой представлено на рисунке 137.

Рисунок 137 - Упрощенное изображение соединения винтом
с цилиндрической головкой
Упрощенное соединение деталей винтом с потайной головкой представлено на рисунке 138.

Рисунок 138 - Упрощенное изображение соединения винтом с потайной
головкой
Клиновое соединение деталей |
Клиновое соединение деталей - разъёмное соединение, затягиваемое или регулируемое с помощью клина, выполняется обычно напряжённым, т. е. с предварительным натягом. Малый угол скоса клина обеспечивает плотность соединения и самоторможение, препятствующее выпадению клина (рисунок 139).
Клиновое соединение - простое компактное соединение, легко собираемое и разбираемое, его целесообразно применять в соединениях, подверженных при работе коррозии, когда трудно отвертывать проржавевшие винты и гайки резьбовых соединений.

Рисунок 139 - Клиновое соединение деталей
Шпоночное соединение деталей - соединение вала и надетой на него с помощью шпонки детали.
Шпонка - деталь, соединяющая вал с втулкой, зубчатым колесом для передачи вращения. Часто употребляются шпонки клиновые (ГОСТ 24068-80), призматические (ГОСТ 23360-78), и сегментные (ГОСТ 24071-80). Шпоночное соединение представлено на рисунке 140.

Рисунок 140 - Шпоночное соединение деталей
Зубчатые, шлицевые соединения деталей |
Зубчатое, шлицевое соединение осуществляется посредством выступов (зубьев на валу) и соответствующих впадин (шлицев) в отверстии детали.
В зависимости от профиля зубьев различают зубчатые соединения: прямобочное (наиболее распространённое), эвольвентное, мелкозубое треугольное (рисунок 141).

Рисунок 141 - Профили зубьев
На рисунке 142 представлено изображение и условное обозначение прямобочного шлицевого соединения с центрированием по наружному диаметру (D), число зубьев – 6, внутренний диаметр -28, размер наружного диаметра и полей допусков – 34H7/js6, для втулки – H7, для вала - js6, ширина зуба и поля допусков – 7P8/js7, для втулки – Р8, для вала - js7.

Рисунок 142 - Шлицевое соединение
Сварные соединения деталей |
Сварные соединения деталей являются наиболее совершенными неразъемными соединениями. Прочность сварных соединений при статических и ударных нагрузках доведена до прочности деталей из целого металла. Освоена сварка всех конструкционных сталей, включая высоколегированные, цветных сплавов и пластмасс.
Сварочная сборная единица представляет собой неразъёмное соединение двух или нескольких деталей, выполненное с помощью сварки.
Сваркой называется процесс получения неразъемного соединения посредством установления межатомных связей между свариваемыми частями при их местном или общем нагреве, или пластическом деформировании, или совместном действии того и другого (ГОСТ 2601-84).
Классификация методов сварки |
Существует более 60-ти способов сварки, которые можно классифицировать по следующим признакам (рисунок 143):
- сварка плавлением, при которой материал в месте соединения расплавляется (дуговая, электрошлаковая, электронно-лучевая, плазменная, световая, газовая и др);
- сварка с применением давления, при которой материал в месте соединения нагревается и пластически деформируется (контактная, высокочастотная, газопрессовая, трением и др);
- сварка давлением, при которой материал в месте соединения деформируется без нагрева (холодная, взрывом и др).
Также различают сварку по:
- виду используемого источника энергии - дуговую, газовую, электронно-лучевую лазерную и др.;
- способу защиты материала - под флюсом, в защитных газах, вакууме и др.;
- степени механизации - ручную, полуавтоматическую и автоматическую.
Рисунок 143 - Классификация методов сварки
В сварочном производстве, как правило, применяют стандартные сварные швы, конструктивные элементы которых регламентируются ГОСТами в зависимости от геометрических параметров свариваемых элементов и способа сварки, который в свою очередь определяется химическим составом свариваемых материалов, прочностными и эксплуатационными требованиями к соединению.
Таблица 10 – Стандартные способы сварки
| ГОСТ |
Наименование способа |
Условное обозначение |
| 5264-80 | Ручная дуговая сварка | Р |
| 8713-79 | Автоматическая сварка под слоем флюса без применения подкладок, подушек и подварочного шва |
А |
| То же, с применением флюсовой подушки |
Аф |
|
| То же, с применением стальной подкладки |
Ас |
|
| Полуавтоматическая сварка под слоем флюса без применения подкладок, подушек и ручной проварки |
П |
|
| То же, с применением стальной подкладки |
Пс |
|
| 11533-75 | Автоматическая сварка под флюсом (под острым и тупым углами) с ручной подваркой |
Ар |
| Полуавтоматическая сварка под флюсом (под острым и тупым углами) с ручной подваркой |
Пр |
|
| 15878-79 | Сварки контактные: | |
|
точечная |
Кт | |
|
роликовая |
Кр | |
|
рельефная |
Кв | |
|
стыковая |
Кс | |
| 15164-78 | Электрошлаковая сварка проволочным электродом | Шэ |
| 14771-76 | Электродуговая сварка в защитных газах: | |
|
в инертных газах неплавящимся электродом |
ИН | |
|
в углекислом газе плавящимся электродом |
УП | |
| 14806-80 | Электродуговая сварка алюминия и алюминиевых сплавов в инертных газах | АИНп |
| 16310-80 | Соединения сварные из полиэтилена, полипропилена и винипласта | Г,Э |
По взаимному расположению соединяемых элементов различают сварные соединения стыковые, нахлесточные, угловые, тавровые, с накладками и др (рисунок 144).

Рисунок 144 - Типы сварных соединений
Условное изображение швов сварных соединений |
Сварной шов - участок сварного соединения, непосредственно связывающий свариваемые элементы. При сварке плавлением шов образуется в результате кристаллизации сварочной ванны, при сварке давлением - в результате диффузии.
Шов сварного соединения, независимо от способа сварки, условно изображают:
видимый - сплошной основной линией;
невидимый - штриховой линией.
На рисунке 145 представлено графическое изображение сварных швов.

Рисунок 145 - Пример изображение сварных швов
Видимую одиночную сварную точку, независимо от способа сварки, условно изображают знаком "+", который выполняют сплошными линиями. Невидимые одиночные точки не изображают (рис.146).

Рисунок 146 - Обозначение сварных точек
От изображения шва или одиночной точки проводят линию-выноску, заканчивающуюся односторонней стрелкой. Линию-выноску предпочтительно проводить от видимого шва (рисунки 145, 146).
Шов, размеры конструктивных элементов которого стандартами не установлены (нестандартный шов), изображаются с указанием размеров конструктивных элементов, необходимых для выполнения шва по данному чертежу (рисунки 147).

Рисунок 147 - Пример изображения нестандартного сварного шва
Границы шва изображают сплошными основными линиями, а конструктивные элементы кромок в границах шва – сплошными тонкими линиями.
Условное обозначение швов сварных соединений |
В общем случае в структуре шва шесть, разделенных дефисами составляющих (рисунки 148).
Сварной шов обозначается линией-выноской, заканчивающейся односторонней стрелкой.
При наличии на чертеже швов, выполненных по одному и тому же стандарту, обозначение стандарта указывают в технических требованиях чертежа (запись по типу: "Сварные швы ... по ...") или таблице.
Вспомогательные знаки для обозначения сварных швов приведены в таблице 11. В условном обозначении шва вспомогательные знаки выполняют сплошными тонкими линиями. Вспомогательные знаки должны быть одинаковой высоты с цифрами, входящими в обозначение шва.

Рисунок 148 - Структура обозначения сварного шва
Таблица 11 – Вспомогательные знаки для обозначения сварных швов
| Вспомогательный знак | Значение вспомогательного знака |
Расположение вспомогательного знака относительно полки линии-выноски, проведенной от изображения шва |
|
|
с лицевой стороны |
с оборотной стороны |
||
| Усиление шва снять | ![]() |
![]() |
|
|
Наплывы и неровности обработать с плавным переходом к основному металлу |
![]() |
![]() |
|
|
Шов выполнить при монтаже изделия, т.е. при установке его по монтажному чертежу на месте применения |
![]() |
||
| Шов
прерывистый или точечный с цепным расположением. Угол наклона линии ~60о |
![]() |
![]() |
|
| Шов прерывистый или точечный с шахматным расположением | ![]() |
![]() |
|
|
Шов по замкнутой линии |
![]() |
||
| Шов по незамкнутой линии. Знак применяют, если расположение шва ясно из чертежа | ![]() |
![]() |
|
Условное обозначение шва наносят на полке линии-выноски, проведенной от изображения шва с лицевой стороны (рисунок 149 а) и под полкой линии-выноски, проведенной от изображения шва с оборотной стороны (рисунок 149 б).

Рисунок 149 - Условное обозначение шва
Обозначение шероховатости механически обработанной поверхности шва наносят на полке или под полкой линии-выноски (рисунок 150) после условного обозначения, или указывают в таблице швов, или приводят в технических требованиях чертежа, например: «Параметр шероховатости поверхности сварных швов …».

Рисунок 150 - Обозначение шероховатости механически обработанной поверхности шва
При наличии на чертеже одинаковых швов обозначение наносится у одного из изображений, от изображений остальных одинаковых швов проводят линии-выноски с полками. Всем одинаковым швам присваивают одинаковый номер, который наносят на линии-выноске с указанием количества швов, имеющей полку с нанесенным обозначением шва, с указанием количества швов и на полке линии-выноски, проведенной от изображения шва, не имеющего обозначения (рисунок 151).

Рисунок 151 - Обозначение одинаковых сварных швов на чертеже
Упрощенное обозначение швов сварных соединений |
Допускается не присваивать порядковый номер одинаковым швам, если все швы на чертеже одинаковые и изображены с одной стороны (лицевой или обратной). При этом швы, не имеющие обозначения, отмечают линиями-выносками без полок (рисунок 152).

Рисунок 152 - Обозначение швов линиями-выносками без полок
На чертеже симметричного изделия, при наличии на изображении оси симметрии, допускается отмечать линиями-выносками и изображать швы только на одной из симметричных частей изображения изделия.
На чертеже изделия, в котором имеются одинаковые составные части, привариваемые одинаковыми швами, эти швы допускается отмечать линиями-выносками и обозначать только у одного из изображений одинаковых частей (предпочтительно у изображения, от которого приведена линия-выноска с номером позиции)
Допускается не отмечать на чертеже швы линиями-выносками, а приводить указания о сварке записью в технических требованиях чертежа, если эта запись однозначно определяет места сварки, способы сварки, типы швов сварных соединений и размеры их конструктивных элементов в поперечном сечении и расположение швов.
Одинаковые требования ко всем швам или группе швов, приводят один раз - в технических требованиях или таблице швов.
На рисунке 153 приведен пример условного обозначения шва таврового соединения без скоса кромок, двустороннего прерывистого с шахматным расположением, выполняемого дуговой ручной сваркой в защитных газах неплавящимся металлический электродом по замкнутой линии. Катет шва 6 мм. Длина провариваемого участка 50 мм. Шаг 100 мм.

Рисунок 153 - Пример условного обозначения шва
Соединение деталей клейкой и пайкой |
Клеевое соединение деталей |
Клеевое соединение деталей – это неразъёмное соединение деталей машин, строительных конструкций, мебели, изделий лёгкой промышленности и др., осуществляемое с помощью клея.
Клеевое соединение позволяет скреплять различные, в том числе и разнородные материалы, обеспечивая равномерное распределение напряжений.
Клеевое соединение используют при изготовлении изделий из стали, алюминия, латуни, текстолита, гетинакса, стекла, фанеры, древесины, ткани, пластмассы, резины и др. материалов, которые можно соединять в различных сочетаниях. При монтаже оборудования и строительстве сооружений клеевые соединения могут заменять сварку, клёпку и др.
Для клеевых соединений применяют фенолоформальдегидные, эпоксидные, кремнийорганические и др. клеи. Толщина клеевой прослойки обычно 0,01-0,1 мм. Чаще всего с помощью клея выполняют соединения, работающие на сдвиг или равномерный отрыв. Такие соединения для стальных изделий обеспечивают предел прочности на сдвиг 20-35 Мн/м2(200-350 кг/см2), а в ряде случаев значительно выше. Прочность клеёного шва пластмасс обычно превышает прочность самого материала.
Недостатками клеевых соединений являются их меньшая долговечность, например, по сравнению со сварными и заклёпочными соединениями (особенно при резких колебаниях температуры), и низкая прочность на односторонний неравномерный отрыв. В этих случаях хорошие результаты даёт применение комбинированных соединений - клеезаклёпочных и клеесварных.
Типы швов клеевого соединения |
В таблице 12 приведены основные типы швов клеевого соединения.
Таблица 12 – Основные типы швов клеевого соединения
| Изображение |
Наименование |
![]() |
Нахлесточный |
![]() |
Стыковой с одной накладкой |
![]() |
Стыковой с двумя накладками |
| Косостыковой | |
| Ступенчатый | |
| Двухступенчатый |
Паяное соединение деталей |
Паяное соединение деталей – это неразъемное соединение деталей, полученных с помощью пайки.
Пайка - это процесс соединения материалов, находящихся в твёрдом состоянии, расплавленным припоем.
При пайке происходят взаимное растворение и диффузия основного материала и припоя, который заполняет зазор между соединяемыми частями изделия. В результате пайки получают неразъёмные соединения в изделиях из стали, чугуна, стекла, графита, керамики, синтетических и др. материалов.
Многочисленные способы пайки классифицированы государственными стандартами по средствам нагрева, условиям заполнения зазора, методам очистки поверхности, образованию шва и др.
Наиболее распространена пайка металлов, которую условно делят на пайку твёрдыми и мягкими припоями. При пайке твёрдыми припоями нагрев мест пайки осуществляют газовыми горелками, электрической дугой, токами высокой частоты в муфельных, туннельных и др. печах. Пайка мягкими припоями производят паяльниками, газовыми горелками, погружением в ванны с расплавленным припоем и др.
Типы швов паяного соединения |
Основные типы паяных соединений представлены в таблице 13.
Таблица 13 – Основные типы швов паяного соединения
|
Тип соединения |
Изображение шва |
Условное |
|
Нахлесточный
|
|
ПН-1 |
|
|
ПН-2 |
|
|
|
ПН-3 |
|
|
Телескопический |
|
ПН-4 |
|
|
ПН-5 |
|
|
|
ПН-6 |
|
|
Тавровый |
|
ПТ-1 |
|
|
ПТ-2 |
|
|
|
ПТ-3 |
|
| Стыковой | ПВ-1 | |
![]() |
ПВ-2 | |
| Косостыковой | ПВ-3 | |
![]() |
ПВ-4 | |
|
Соприкасающийся
|
|
ПС-1 |
|
|
ПС-2 |
Условное изображение и обозначение соединени клейкой и пайкой |
Условное изображение и обозначение соединений деталей получаемых клейкой и пайкой регламентируется ГОСТ 2.313-82 «Условные изображения и обозначения неразъемных соединений».
Изображение паяных и клееных соединений
В соединениях, получаемых пайкой и склеиванием, место соединения элементов следует изображать сплошной линией толщиной 2s (рисунок 154).
![]()
Рисунок 154 - Изображение паяных и клееных соединений
Условное обозначение паяных и клееных соединений
Для обозначения паяного и клееного соединения (рисунок 155) следует применять условный знак, который наносят на линии - выноске сплошной основной линией.

Рисунок 155 - Условные знаки обозначения паяных и клееных соединений
Пример изображения и обозначения паяного соединения представлен на рисунке 156.

Рисунок 156 - Паяное соединение
Пример изображения и обозначения клееного соединения представлен на рисунке 157.

Рисунок 157 - Клеевое соединение
Швы, выполняемые по замкнутой линии, следует обозначать окружностью диаметром от 3 до 5 мм, выполняемой тонкой линией (рисунок 158).

Рисунок 158 - Клеевые швы, выполняемые по замкнутой линии
На изображении паяного соединения при необходимости следует указывать размеры шва и обозначение шероховатости поверхности.
Обозначение припоя или клея (клеящего вещества) по соответствующему стандарту или техническим условиям следует проводить в технических требованиях чертежа записью по типу: «ПОС 40 ГОСТ…» или «Клей БФ – 2 ГОСТ…».
При необходимости в том же пункте технических требований следует приводить требования к качеству шва. Ссылку на номер пункта следует помещать на полке линии- выноски, проведенной от изображения шва.
При выполнении швов припоями или клеями различных марок всем швам, выполняемым одним и тем же материалом, следует присваивать один порядковый номер, который следует наносить на линии-выноске. При этом в технических требованиях материал следует указывать записью по типу: «ПОС 4 ГОСТ…(№ 1), ПМЦ 36 ГОСТ…(№ 2), клей БФ-2 ГОСТ…(№3)».
Заклепочные соединения деталей |
Заклепочное соединение деталей – это неразъемное соединение деталей при помощи заклепок (рисунок 159). Применяется в конструкциях, работающих в условиях ударных и вибрационных нагрузок, при небольших толщинах соединяемых деталей, для скрепления деталей из разных материалов, деталей из несвариваемых и не допускающих нагрева материалов.

Рисунок 159 - Заклепочное соединение
Заклепка — крепежная деталь, представляющая собой цилиндрический стержень с закладной головкой на одном конце. Замыкающая головка на другом конце образуется в процессе клепки (рисунок 160).

Рисунок 160 - Заклепки
Условное обозначение заклепки включает в себя: наименование, диаметр стержня d, длину L, группу материала, условное обозначение покрытия, номер стандарта.
Пример обозначения заклепки с потайной головкой диаметром 8 мм, длиной 20 мм, из меди М3, с никелевым покрытием (Н) толщиной 6 мкм –
Заклепка 8х20.38.М3.Н6 ГОСТ10300-80
Классификация заклепочных швов |
Классификация заклепочных швов представлена на рисунке 161.

Рисунок 161 - Классификация заклепочных швов
Условное изображение клепаных соединений |
Условное изображение и обозначение клепаных соединений деталей регламентируется ГОСТ 2.313-82 «Условные изображения и обозначения неразъемных соединений». Условное изображение клепаных соединений представлены в таблице 14.
Таблица 14 – Условное изображение клепаных соединений
| Вид соединения | Изображение | Условное изображение | |
| в сечении | на виде | ||
|
1. Заклепкой с полукруглой, плоской, скругленной головкой и с полукруглой, плоской, скругленной замыкающей головкой |
![]() |
![]() |
![]() |
![]() |
|||
|
2. Заклепкой с потайной головкой и с полукруглой, плоской, скругленной замыкающей головкой |
![]() |
|
|
|
3. Заклепкой с потайной головкой и с потайной замыкающей головкой |
![]() |
|
|
|
4. Заклепкой с полупотайной головкой и с потайной замыкающей головкой |
![]() |
|
![]() |
|
5. Заклепками специальными |
|
|
|
|
|
|||
|
|
|||
Соединение деталей методом пластической деформации |
Неразъемные соединения деталей могут быть получены вальцеванием, раскатыванием, раздачей, обжатием и другими методами пластической деформации.
Соединение методами пластической деформации на чертеже обозначается с помощью линии-выноски с указанием названия метода.
Раздача представлена на рисунке 162.

Рисунок 162 - Соединение деталей раздачей
Вальцевание представлено на рисунке 163.

Рисунок 163 - Соединение деталей вальцеванием
Раскатывание представлено на рисунке 164.

Рисунок 164 - Соединение деталей раскатыванием
Соединение деталей,получаемых сшиванием |
Соединения, получаемые сшиванием, следует изображать на чертежах тонкой сплошной линией и обозначать условным знаком, выполненным сплошной основной линией и нанесением на линии-выноске (рисунок. 165).
Обозначение материала (ниток и т.п.) по соответствующему стандарту или техническим условиям, а также, при необходимости, сведения, характеризующие шов, в том числе количество ниток и размер стежка, следует приводить в технических требованиях чертежа. Ссылку на номер пункта следует помещать на полке линии-выноски, проведенной от изображения шва.

Рисунок 165 - Соединение деталей сшиванием
Соединение деталей, получаемые при помощи металлических скобок |
Соединение, получаемое при помощи металлических скобок, следует обозначать условным знаком, выполненным сплошной основной линией и нанесенным на линии-выноске. Знаки представлены на рисунке 166.

Рисунок 166 - Условные знаки для обозначения соединений,
поучаемых при помощи металлических скобок
Линия-выноска подводится к соединению со стороны расположения скобок. При изображении ряда металлических скобок следует изображать только крайние скобки, соединяемые между собой сплошной тонкой линией. Соединение, выполняемое по замкнутой линии, следует обозначать окружностью диаметром от 3 до 5 мм, выполняемой тонкой линией. Дополнительные сведения, характеризующие соединение, например, параметры скобки и расстояние между ними, при необходимости, следует приводить в технических требованиях чертежа.
Если соединение образуется несколькими рядами скобок, то на чертеже следует изобразить один ряд, расположенный ближе к краю, а на полке линии-выноски указать количество рядов и расстояние между ними.
Примеры изображения и обозначения соединений, выполненных при помощи металлических скобок сведены в таблицу 15.
Таблица 15 – Примеры изображения соединений, выполненных при помощи металлических скобок
| Соединение | Изображение | Условное изображение |
|
1. С параллельным расположением скобок |
![]() |
![]() |
|
2. С последовательным расположением скобок |
![]() |
![]() |
|
3. С параллельным наклонным расположением скобок |
![]() |
![]() |
|
4. Угловое с параллельным расположением скобок |
![]() |
![]() |
Армированные изделия |
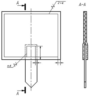
Армированное изделие - это изделие неоднородное по материалу и изготавливаемое с применением неразъемного соединения, получаемого методом опрессовки или другими способами, обеспечивающими монолитную связь (заформовкой в металл и др.).
Армированное изделие состоит из арматуры и оформившегося в пресс-форме материала-наполнителя (рисунок 167).

Рисунок 167 - Армированное изделие
Правила конструирования армированных изделий |
1. Арматура должна быть надежно закреплена в осевом направлении и застрахована от поворота вокруг своей оси.
2. При использовании в качестве арматуры стержней с резьбой, необходимо избегать заформовки резьбы в деталь.
3. Толщина стенки материала-наполнителя должна быть не менее 4 мм для порошковых и 2 мм - для волокнистых пластмасс.
4. Арматура разделяется на проволочную, листовую, втулочную и стержневую.
Крепление проволочной арматуры представлено на рисунке 168.

Рисунок 168 - Крепление проволочной арматуры
Крепление листовой арматуры представлено на рисунке 169.

Рисунок 169 - Крепление листовой арматуры
Крепление втулочной арматуры представлено на рисунке 170.

Рисунок 170 - Крепление втулочной арматуры
Крепление стержневой арматуры представлено на рисунке 171.

Рисунок 171 - Крепление стержневой арматуры
| Содержание |